医疗机构污水处理设备
一、医疗机构污水处理设备工艺:
采用生物处理工艺----生物接触氧化法加二氧化氯发生器消毒的工艺,集去除CODcr、BOD5、NH3-N等于一身,是目前有效的污水处理设备。处理后的污水达到《国家医疗机构污水排放标准GB18466-2005》。

二、医疗机构污水处理设备部分:
1、格栅:格栅设置于调节池内污水源头进水一端,格栅井内设置人工格栅,通过格栅拦截去除医院污水中较大的悬浮物固体、纸屑,保护水泵及后续管路系统不被堵塞。
2、调节池:提高整个系统的抗冲击性能减少处理单元的设计规模。有利于降低运行成本和水质波动带来的影响。设置液位自动控制装置,水泵将根据液位自动开启。
3、缺氧池:由于污水中的有机成分较高,BOD5/CODcr=0.5可生化性好,因此设计采用生物膜法。

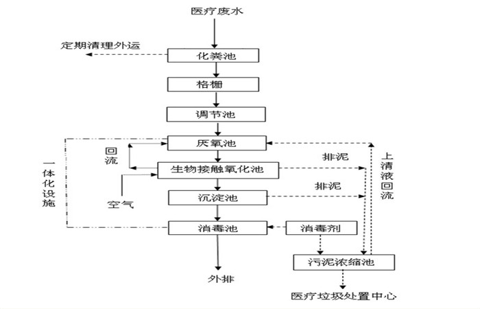
三、医疗机构污水处理设备工艺流程说明
医院污水首先进入格栅井,格栅的作用主要是拦截污水中的漂浮物及颗粒物,减轻后续设备的处理负荷和保护水泵正常工作。从格栅出来的水有提升泵提升到调节池,调节池的作用是调节水质和水量,使不同时间、不同水质的水充分混合,保证进入到后续设备的水质与水量均匀一致,还可以降低一定的负荷,使整套处理设备耐受短时间较高的负荷冲击。为防止SS在调节池沉淀,在调节池中安装几根曝气软管,起搅拌作用,同时调节池具有水解、酸化池的功能,可将部分大分子有机污染物降解为小分子污染物,去除部分有机污染物。调节池出来的水自流至一体化医院污水处理设备的水解酸化池,将不易分解的大分子有机物厌氧消化为易分解的小分子有机物,后废水进入接触氧化池,在曝气池中设置填料,将其作为生物膜的载体。待处理的废水经充氧后以一定流速流经填料,与生物膜接触,生物膜与悬浮的活性污泥共同作用,达到净化废水的作用。生物处理后的废水自流入沉淀池,沉淀后上清液自流入消毒池,经过二氧化氯消毒后达标排放。

四、医疗机构污水处理设备优点:
1.设备埋于地表下,上面可以进行绿化,环境美观。
2.整个设备一般不需要专人管理。
3.可以减少占地面积,设备上方可修建停车场等,无需建厂房等设施


返回首页
电话
产品中心