门诊污水处理设备工艺选择
一、门诊污水处理设备工艺选择:
门诊污水处理设备处理系统采用二级处理+消毒的工艺。一级处理主要是去除污水中呈悬浮状态的固体物质,常用物理法;二级处理的主要任务是大幅度去除污水中呈胶体和溶解状态的有机物,BOD去除率为80%~90%,二级处理的污水就可以达到排放标准,常用生物处理法。通过采用了二级处理+生物接触氧化+消毒工艺进行了本次污水处理系统的重建,既符合现行的环保要求,又满足医院今后发展的需要。

二、门诊污水处理设备工艺特点:
1、生物接触氧化法采用填料比表面积大,挂膜快,脱膜容易,运行时对空气泡能起到极好的切割作用,促进了氧的传递。池内单位容积的生物量高于活性污泥法曝气池及生物滤池,因此,它可达到较高的容积负荷,提高处理效果。
2、生物接触氧化法由于相当一部分微生物固着生长在填料表面,不存在污泥膨胀问题,运行管理简便。
3、生物接触氧化法由于生物附着量多,水流属完全混合型,因此它对水质水量的骤变有较强的适应能力。
4、生物接触氧化法因污泥浓度高,当有机容积负荷较高时,其F/M仍保持在一定水平,因此污泥产量低于活性污泥法。

三、门诊污水处理设备流程说明:
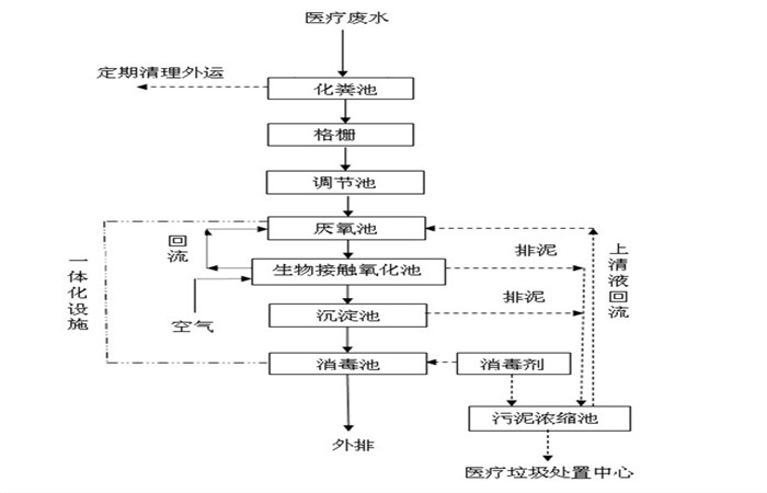
污水首先进入格栅井,格栅的作用主要是拦截污水中的漂浮物及颗粒物,减轻后续设备的处理负荷和保护水泵正常工作。从格栅出来的水有提升泵提升到调节池,调节池的作用是调节水质和水量,使不同时间、不同水质的水充分混合,保证进入到后续设备的水质与水量均匀一致,还可以降低一定的负荷,使整套处理设备耐受短时间较高的负荷冲击。为防止SS在调节池沉淀,在调节池中安装几根曝气软管,起搅拌作用,同时调节池具有水解、酸化池的功能,可将部分大分子有机污染物降解为小分子污染物,去除部分有机污染物。
调节池出来的水自流至一体化医院污水处理设备的水解酸化池,将不易分解的大分子有机物厌氧消化为易分解的小分子有机物,后废水进入接触氧化池,在曝气池中设置填料,将其作为生物膜的载体。待处理的废水经充氧后以一定流速流经填料,与生物膜接触,生物膜与悬浮的活性污泥共同作用,达到净化废水的作用。生物处理后的废水自流入沉淀池,沉淀后上清液自流入消毒池,经过二氧化氯消毒后达标排放。


四、门诊污水处理设备处理原则:
1、本设计严格执行国家现行的环保技术标准、规范,遵守国家和地方环保的有关法律、法规,废水经治理后,确保各项水质指标均达到《医疗机构水污染物排放标准》(GB 18466-2005)一级标准的要求;
2、选用先进、合理、可靠的处理工艺,在确保处理排放达标的前提下,做到操作简单、管理方便、占地少、投资省、运行费用低, 有较好的技术经济指标。
3、本工程系环境工程,尤其要注意环境保护,避免和减少二次污染,要求改善劳动卫生条件,贯彻安全生产和清洁文明生产的方针。
4、为了提高污水处理站管理水平,设计采用的自动化程度较高,操作人员的劳动强度低。
5、合理选用优质配件,降低能耗,提高工作效率和试用寿命,降低成本。
6、在工艺设计时,有较大的灵活性,可调性,以试用水量、水质的周期变化,提高系统的灵活性和可变性。
7、采用污泥前置回流消解工艺,以降低污泥产生量。
8、因地制宜,合理布局,有效的利用空间。

五、门诊污水处理设备IOS/安卓通用版/手机APP入口:
1、严格按业主的要求,保证进度,保证质量完成项目。
2、凡是我方提供的所有材料以及整体工程,均实行 12 个月免费保修,该保修期自整体项目最终竣工验收合格之日起计算。
3、凡属我方承包范围和内容的项目,我方在接到修理通知的4小时内给予答复, 48小时内必须派人修理。
4、在保修期内向业主提供的所有IOS/安卓通用版/手机APP入口属无偿服务。
5、我方承诺,对设备质量终身负责。
6、我方承诺将终身维护,并以优惠的价格(成本价)对设备提供修理服务。


返回首页
电话
产品中心