一体化医疗污水处理设备优质
一、一体化医疗污水处理设备优质:
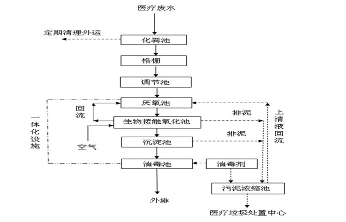
一体化医疗污水处理设备采用的是生物处理工艺,生物接触氧化法加二氧化氯发生器消毒的工艺,一体化医疗污水处理设备集去除CODcr、BOD5、NH3-N等于一身,是目前有效的污水处理设备,处理后的污水达到《国家医疗机构污水排放标准GB18466-2005》。

二、一体化医疗污水处理设备设计:
1、格栅:格栅设置于调节池内污水源头进水一端,格栅井内设置人工格栅,通过格栅拦截去除医院污水中较大的悬浮物固体、纸屑,保护水泵及后续管路系统不被堵塞。
2、调节池:提高整个系统的抗冲击性能减少处理单元的设计规模。有利于降低运行成本和水质波动带来的影响。设置液位自动控制装置,水泵将根据液位自动开启。废水经污水泵送入生物接触氧化池,进行生化处理,内部安装布水管、填料、填料支架等。
3、缺氧池:由于污水中的有机成分较高,BOD5/CODcr=0.5可生化性好,因此设计采用生物膜法。


三、一体化医疗污水处理设备工艺说明:
医疗污水首先进入格栅井,格栅的作用主要是拦截污水中的漂浮物及颗粒物,减轻后续设备的处理负荷和保护水泵正常工作。从格栅出来的水有提升泵提升到调节池,调节池的作用是调节水质和水量,使不同时间、不同水质的水充分混合,保证进入到后续设备的水质与水量均匀一致,还可以降低一定的负荷,使整套处理设备耐受短时间较高的负荷冲击。
为防止SS在调节池沉淀,在调节池中安装几根曝气软管,起搅拌作用,同时调节池具有水解、酸化池的功能,可将部分大分子有机污染物降解为小分子污染物,去除部分有机污染物。调节池出来的水自流至一体化医院污水处理设备的水解酸化池,将不易分解的大分子有机物厌氧消化为易分解的小分子有机物,后废水进入接触氧化池,在曝气池中设置填料,将其作为生物膜的载体。
待处理的废水经充氧后以一定流速流经填料,与生物膜接触,生物膜与悬浮的活性污泥共同作用,达到净化废水的作用。生物处理后的废水自流入沉淀池,沉淀后上清液自流入消毒池,经过二氧化氯消毒后达标排放。


四、一体化医疗污水处理设备特点:
(1)设计结构紧凑,空间利用充分,减少医院占地面积
(2)设备不会产生任何噪声、无异味、无污染,不会给病人和工作人员带来不便
(3)处理方式灵活,不会受到污水排放量的多少而影响处理效果
(4)自动化程度高,管理费用小,污水处理效果完全能够满足国家规定的排放标准

五、一体化医疗污水处理设备工艺配置:
1、格栅功能:拦截去除进水中大块呈悬浮或漂浮状态的污物,保护水泵,并防止水泵与后续管路系统被阻塞
2、化粪池功能:化粪池是基本的污泥处理设施 ,同时也是生活污水的预处理设施,
3、调节池功能:指的是用以调节进、出水流量的构筑物。 狭义定义:为了使管渠和构筑物正常工作,不受废水高峰流量或浓度变化的影响,需在废水处理设施之前设置调节池
4、水解酸化池功能:将大分子有机物转化为小分子有机物,将难溶性有机物转化为可溶性有机物,提高废水的可生化性,降低后续处理设施的运行负荷,提高污染物去除效率
5、接触氧化池功能:通过微生物的新陈代谢吸附、降解水中的污染物,达到净化废水的目的
6、沉淀池功能:沉淀分离活性污泥,部分回流至厌氧池,剩余污泥排放至污泥浓缩池
7、消毒池主要设备:二氧化氯消毒设备。



返回首页
电话
产品中心