疾控中心污水处理设备安全耐用
一、疾控中心污水处理设备安全耐用:
疾控中心污水处理设备采用碳钢或不锈钢材质,环氧沥青漆防腐,安全耐用。疾控中心污水处理设备是指将污水处理设施中的主体构筑物埋在地下或半地下的污水处理技术,是一种以生物膜为净化主体的污水生物处理系统,充分发挥了厌氧生物滤池、接触氧化床等特点 ,后续链接二氧化氯发生器,可以将疾控中心污水中的有毒物质进行有效消除。

二、疾控中心污水处理设备配置:
1. 在污水处理站的设计中,应根据总体规划适当预留余地。
2. 根据医院的规模和具体条件,处理站应设值班、化验用房、控制室及联络电话等设施。
3. 污水处理站内可根据需要,在适当地点设置污泥、废渣及医疗废弃物的堆放场地,但以上垃圾必须采取严格封闭措施。
4. 处理站内应有必要的计量、安全及报警等装置。

三、疾控中心污水处理设备处理工艺:
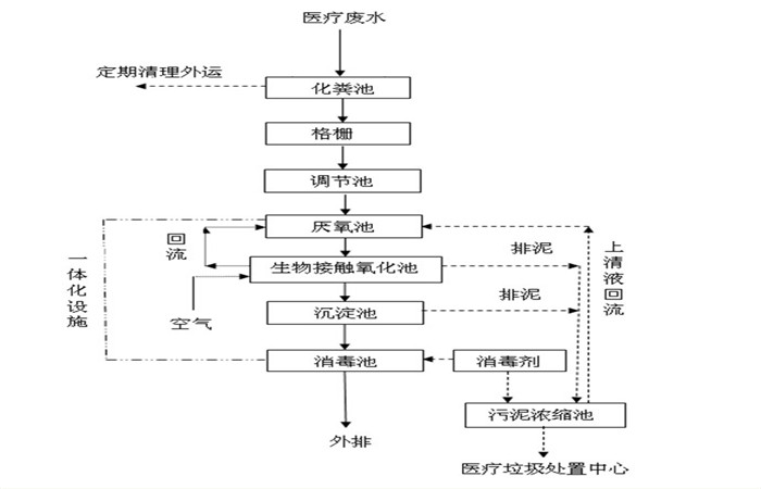
(1)预处理:废水的预处理是整个系统能否有效运行的关键。废水中含有大量易腐化的有机物,必须在进入处理系统前加以拦截,以防止悬浮固体有机质腐化成为溶解性有机质,导致废水CODCr、BOD5浓度升高。常用的预处理方法很多,主要包括:调节、隔油、等。考虑到本工程的水量及水质特点,预处理工艺采用格栅、综合调节相结合的工艺。
(2)水解酸化工艺在高浓度有机废水的处理中是应用最多的形式,是通过控制水力停留时间及水中溶解氧的浓度,将生物的厌氧过程控制在水解及酸化阶段,不要求进入产乙酸和产甲烷阶段,从而缩短了反应的进程和时间。其主要的优势在于能够去除较多的有机物、降解分子量大和碳链较长的物质、提高进水的可生化性,同时由于其不进入产甲烷阶段,对环境条件的要求较低,能够抵抗一定的水质和水量的冲击负荷,同时水解酸化反应在厌氧和缺氧条件下都能够发生,对反应池的结构形式要求较低。水解酸化是将厌氧过程控制在水解和酸化阶段即可,因此水解酸化反应池的停留时间短,反应池内的优势菌群为水解酸化菌,少数为乙酸菌和产甲烷菌。另外,水解酸化工艺不进入产甲烷阶段,产生的少量气体可直接排入大气中,不会对人体和周围环境产生较大的影响。
(3)生化处理:
接触氧化法是一种好氧生物膜法工艺,微生物以生物膜形式及悬浮态生长于水中,因此它兼具活性污泥及生物滤池二者的特点。池内设置立体弹性填料和曝气管路系统,并于曝气管路系统上安装微孔曝气器。弹性填料由拉毛的PP材质的丝条和绞绳制成,呈圆形毛刷状,比表面积大,能附着大量的微生物膜。该填料挂膜快,脱膜容易,运行时丝条对空气泡能起到极好的切割作用,使大气泡切割成小气泡,可增加气液接触面积,促进氧的传递,从而提高处理效果。该工艺负荷高、停留时间短、挂膜快、运行稳定,比较适合小规模企业中小型污水处理站的建设,倍受环保公司及用户青睐。
(4)消毒:医院污水中含有大肠杆菌超标,因此在污水排放前必须加以消毒,最有效的杀菌工艺是二氧化氯消毒,二氧化氯发生器以盐酸和氯酸钠为原料,采用负压曝气工艺,生产以二氧化氯为主,氯气为铺的复合消毒液,工业盐酸应符合国家标准《GB320--93工业合成盐酸》的要求。氯酸钠应符合《GB1618--1995工业用氯酸钠》的要求。


三、疾控中心污水处理设备特点:
①、设备主机可埋设于地下冻层以下,设备主机上方地表可作为绿化或其他用地,不需要建房及采暖、保温。根据客户要求设备主机也可以放置于地面上。
②、A/O生物处理工艺均采用推流式生物接触氧化,其处理效果优于完全混合式或二、三级串联完全混合式生物接触氧化池。并比活性污泥池体积小,对水质的适应性强,耐冲击负荷性能好,出水水质稳定,不会产生污泥膨胀。池中采用新型弹性立体填料,比表面积大,微生物易挂膜,脱膜,在同样有机物负荷条件下,对有机物去除率高,能提高空气中的氧在水中溶解度。
③、A/O池采用了生物接触氧化,其填料的体积负荷比较低,微生物处于自身氧化阶段,产泥量少,仅需三个月以上排一次泥(用粪车抽吸外运)。
④、整个设备处理系统配有全自动电器控制系统,运行安全可靠,平时一般人不需要专人管理,只需适时地对设备进行维护和保养。

四、疾控中心污水处理设备要求:
(1) 工艺流程配置合理,运行安全、可靠、简单易行。
(2) 设备内部布置考虑运行、维修人员的操作条件。
(3) 各单元设备的计算合理、准确、可靠。
(4) 就地控制柜考虑自动及手动两种方式。
(5) 根据进出水水质、水量要求,以生物处理工艺为基础合理设计整套工艺系统。



返回首页
电话
产品中心