医疗污水处理机质优价廉
一、医疗污水处理机质优价廉:
医疗污水处理机采用成熟的“预处理-生化处理-二氧化氯消毒"综合处理的工艺,利用微生物多级新陈代谢来降解和去除废水中的污染物,然后用二氧化氯消毒处理。医疗污水根据客户需求采用碳钢、不锈钢、玻璃钢等材质加工生产,所有产品源头厂家制造,无中间商赚差价,质优价廉、值得信赖。

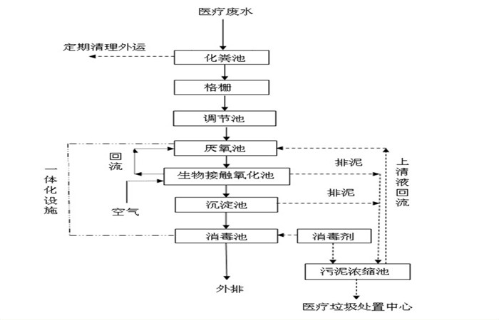
二、医疗污水处理机处理步骤:
1、格栅:格栅设置于调节池内污水源头进水一端,格栅井内设置人工格栅,通过格栅拦截去除医院污水中较大的悬浮物固体、纸屑,保护水泵及后续管路系统不被堵塞。
2、调节池:提高整个系统的抗冲击性能减少处理单元的设计规模。有利于降低运行成本和水质波动带来的影响。设置液位自动控制装置,水泵将根据液位自动开启。
3、废水经污水泵送入生物接触氧化池,进行生化处理,内部安装布水管、填料、填料支架等。
4、最后用二氧化氯消毒处理,达标排放。

三、医疗污水处理机设计范围:
1、从污水处理格栅井开始到处理设备的排放口为止。
2、污水工程的工艺流程,工艺设备选型,工艺设备的结构布置,电气控制说明等设计工作。
3、污水处理工程的钢砼工艺结构,设备的施工、安装、调试等工作。
4、污水工程的动力配线,由业主将主电引至污水工程的配电控制箱,配电分配箱至各电器使用点将由公司负责。
5、不包括废水的收集管网及废水排出界区的外排水管网。


四、医疗污水处理机处理工艺:
(1)预处理:废水的预处理是整个系统能否有效运行的关键。废水中含有大量易腐化的有机物,必须在进入处理系统前加以拦截,以防止悬浮固体有机质腐化成为溶解性有机质,导致废水CODCr、BOD5浓度升高。常用的预处理方法很多,主要包括:调节、隔油等。
(2)接触氧化法:它是一种好氧生物膜法工艺,微生物以生物膜形式及悬浮态生长于水中,因此它兼具活性污泥及生物滤池二者的特点。池内设置立体弹性填料和曝气管路系统,并于曝气管路系统上安装微孔曝气器。弹性填料由拉毛的PP材质的丝条和绞绳制成,呈圆形毛刷状,比表面积大,能附着大量的微生物膜。该填料挂膜快,脱膜容易,运行时丝条对空气泡能起到极好的切割作用,使大气泡切割成小气泡,可增加气液接触面积,促进氧的传递,从而提高处理效果。该工艺负荷高、停留时间短、挂膜快、运行稳定。
(3)消毒:医院污水中含有大肠杆菌超标,因此在污水排放前必须加以消毒,有效的杀菌工艺是二氧化氯消毒,二氧化氯发生器以盐酸和氯酸钠为原料,采用负压曝气工艺,生产以二氧化氯为主,氯气为铺的复合消毒液,工业盐酸应符合国家标准《GB320--93工业合成盐酸》的要求。



返回首页
电话
产品中心