小型医用污水处理装置工艺选择
一、小型医用污水处理装置工艺选择:
小型医用污水处理设备装置工艺选择生物接触氧化法,生物接触氧化法生物池内设置填料,由于填料的比表面积大,池内充氧条件好,生物接触氧化池内单位容积的生物体量都高于活性污泥法曝气池及生物滤池,因此生物接触氧化池具有较高的容积负荷,由于相当一部分微生物固着生长在填料表面,生物接触氧化法可不设污泥回流系统,也不存在污泥膨胀问题,运行管理方便,由于生物接触氧化池内生物固体量多,水流属于完全混合型,因此生物接触氧化池对水质水量的骤变有较强的适应能力,生物接触氧化工艺大多适应于生活、医院、疗养院、宾馆、住宅小区、与生活污水类似的各种工业有机废水。

二、小型医用污水处理装运行流程:
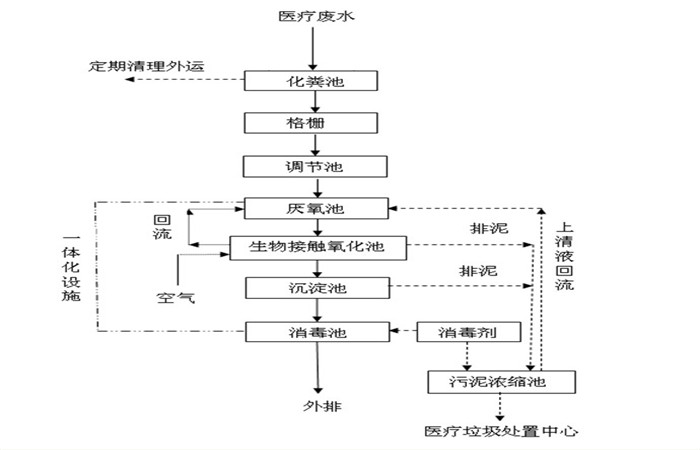
A、调节池
由于来水标高低,无法直接流入地埋式生活污水处理设备,在生化一体化设备前增加集水调节池一座。集水提升池内装有两台潜水提升泵,将集水提升池内的废水提升至一体化污水处理设备。调节池同时起到均化水质和水量的作用。
B、格栅
调节池的废水由提升泵抽至一体化污水处理设备格栅前,格栅对污水中含有各类漂浮物质加以拦截。以防止堵塞后续的水泵或处理设备;避免在后续水池内沉淀,增加检修次数。
C、地埋式污水处理设备
调节池出来的水自流至地埋式污水处理设备的水解酸化池,将不易分解的大分子有机物厌氧消化为易分解的小分子有机物,后废水进入接触氧化池,在曝气池中设置填料,将其作为生物膜的载体。待处理的废水经充氧后以一定流速流经填料,与生物膜接触,生物膜与悬浮的活性污泥共同作用,达到净化废水的作用。
D、消毒装置
医院污水中含有大肠杆菌超标,因此在污水排放前必须加以消毒,最有效的杀菌工艺是二氧化氯消毒,二氧化氯发生器以盐酸和氯酸钠为原料,采用负压曝气工艺,生产以二氧化氯为主,氯气为铺的复合消毒液,工业盐酸应符合国家标准《GB320--93工业合成盐酸》的要求。氯酸钠应符合《GB1618--1995工业用氯酸钠》的要求。


三、小型医用污水处理装置优势:
1、抗冲击负荷的能力强。接触氧化法的平均停留时间在6小时以上;
2、具有脱氮除磷能力,并可以通过调节设备的构造,达到处理工业废水,生活污水,城市污水的能力;
3、接触氧化池内的填料多为组合软填料,质轻、高强、物理化学性质稳定,比表面积大,生物膜附着能力强,污水与生物膜的接触效率高;
4、接触氧化池内采用曝气器进行鼓风曝气,使纤维束不断漂动,曝气均匀,微生物生长成熟,具有活性污泥法的特征;
5、出水水质稳定,污泥产量少并易于处理;
6、潜水泵中可设于设备之中,减少工程投资;
7、设备可设于地面上,也可埋于地下。埋于地下时,上部覆上可用于绿化,厂区占地面积少,地面构筑物少;
8、易于完成自动控制,管理、操作简单。


四、小型医用污水处理装置IOS/安卓通用版/手机APP入口:
1、严格按业主的要求,保证进度,保证质量完成项目。
2、凡是我方提供的所有材料以及整体工程,均实行12个月免费保修,该保修期自整体项目最终竣工验收合格之日起计算。
3、凡属我方承包范围和内容的项目,我方在接到修理通知的4小时内给予答复,48小时内必须派人修理。
4、在保修期内向业主提供的所有IOS/安卓通用版/手机APP入口属无偿服务。
5、我方承诺,对设备质量终身负责。
6、我方承诺将终身维护,并以优惠的价格(成本价)对设备提供修理服务。



返回首页
电话
产品中心