医疗废水处理成套设备货源产地
一、医疗废水处理成套设备货源产地:
医疗废水处理成套设备货源产地山东诸城。源头生产厂家IM手机平台科技,公司所有产品自产自销,无中间商,有自己的制造、销售、售后安装团队,对设备提供一条龙服务,解决一切后顾之忧。公司采用目前较为成熟的生化处理技术接触氧化法,采用一体化设计,占地少,运行费用低,配备全自动控制系统,操作维护方便。

二、医疗废水处理成套设备设计原则:
1、本设计严格执行国家现行的环保技术标准、规范,遵守国家和地方环保的有关法律、法规,废水经治理后,确保各项水质指标均达到《医疗机构水污染物排放标准》标准要求;
2、选用先进、合理、可靠的处理工艺,在确保处理排放达标的前提下,做到操作简单、管理方便、占地少、投资省、运行费用低, 有较好的技术经济指标。
3、本工程系环境工程,尤其要注意环境保护,避免和减少二次污染,要求改善劳动卫生条件,贯彻安全生产和清洁文明生产的方针。
4、为了提高污水处理站管理水平,设计采用的自动化程度较高,操作人员的劳动强度低。
5、合理选用优质配件,降低能耗,提高工作效率和试用寿命,降低成本。
6、在工艺设计时,有较大的灵活性,可调性,以试用水量、水质的周期变化,提高系统的灵活性和可变性。
7、采用污泥前置回流消解工艺,以降低污泥产生量。
8、因地制宜,合理布局,有效的利用空间。


三、医疗废水处理成套设备处理原理:
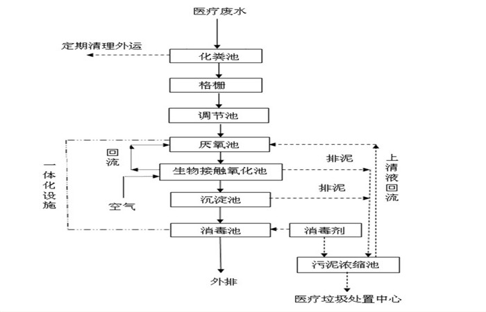
医疗废水经过人工格栅,去除水中较大的漂浮物,上清液流入调节池,调节池调节污水的水量和水质;为节约造价并在不影响处理效果的同时一池多用,利用调节池一部分做A级生化池(缺氧池),既能去除氨氮又起到预处理作用,调节池的污水采用泵入方式进入O级生化池,进行生化处理。由于污水中氨氮及有机物含量较高,特别是有机氮,在生物降解有机物时,有机氮会以氨氮形式表现出来,由于氨氮也是一个污染控制指标,因此污水处理采用缺氧好氧A/O生物接触氧化工艺,即生化池需分为A级池和O级池两部分。在A级池内,由于污水有机物浓度较高,微生物处于缺氧状态,此时微生物为兼性微生物,它们将污水中有机氮转化为氨氮,同时利用有机碳源作为电子供体,将NO2-N、NO3-N转化为N2,而且还利用部分有机碳源和氨氮合成新的细胞物质。所以A级池不仅具有一定的有机物去除功能,减轻后续O级生化池的有机负荷,以利于硝化作用进行,而且依靠污水中的高浓度有机物,完成反硝化作用。


四、医疗废水处理成套设备处理说明:
1、格栅
设备格栅为固定式,材质为不锈钢网。用于去除水中大颗料悬浮物和漂浮杂质。由于污水水质及水量波动较大,因此要有足够的调节池容量,才能使进入一体化污水处理设备的水质及水量稳定。
2、生化处理
根据前述污水水质水量和排放要求,结合污水特征。本次生化系统将接触氧化池、沉淀池、污泥池、风机房、消毒出水池等部分合成一体,其各部分具有相应功能,部分之间相互连接,出水达标。
(1)接触氧化池内配装填料。下部配置曝气器,并用ABS工程塑料管做成曝气系统,曝气系统的气源由专门配置的风机提供。
(2)沉淀池上部设可调出水,以调节出水水位;下部设锥形沉淀区和污泥气提装置,气源由风机提供,污泥采用气提方式输送至污泥池。
(3)污泥在污泥池停留时间约为120天。系统沉淀产生的污泥以气提方式排入污泥池,污泥在此浓缩沉降并储存,池底部设曝气管以防污泥厌氧消化产生沼气,并使污泥氧化减少污泥总量;浓缩污泥定期由粪车抽吸外运。污泥池上部设上清液回流装置,使上清液溢流至酸解池。
3、消毒设备
二氧化氯发生器分为消毒接触池分混合池和接触池两个单元,混合池的作用主要是将消毒药剂迅速、均匀地分配到废水中的各个部分,然后送入接触池进行接触消毒。



返回首页
电话
产品中心