牙科诊所污水处理设备性价比高
一、牙科诊所污水处理设备性价比高:
牙科诊所污水处理设备工艺简单,设备采用物理方法处理污水,不会出现氯排放量超标的现象,也不会出现后续投资费用,性价比高。工艺中的主体为生化处理加二氧化氯消毒,二氧化氯消毒,其杀菌的原理是破坏和氧化微生物的细胞膜、细胞质、酶系统和核酸等,从而能够有效的去除细菌和病毒。

二、牙科诊所污水处理设备处理思路:
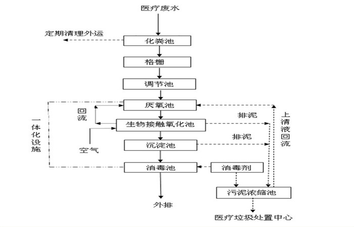
(1)格栅池:去除污水中较大的漂浮物及悬浮物以保证污水提升泵的正常运行,对水泵和后续处理单元起保护作用。
(2)调节池:调节水质、水量,医疗废水虽然相对平稳,但仍存在水质、水量上的波动,设立调节池可使污水处理系统连续地运行并调节污水的浓度,有效延长处理设备的寿命,提升处理效果。
(3)接触氧化池:在曝气充氧条件下,利用好氧微生物分解废水中有机物,彻底降解废水中有机污染物。
(4)沉淀池:进一步去除生化池出水中的脱落生物膜及其它悬浮物,实现泥水分离,污泥排至污泥池浓缩处理,上清液排入接触消毒池。
(5)消毒池:对二沉池出水投加消毒剂进行消毒,使粪大肠菌群数指标达到排放标准的要求,满足医院排水的卫生标准。


三、牙科诊所污水处理设备特点:
①、占地面积小、安装方便.
②、全自动运行、操作简单、整套设备无需专们人员管理.
③、系统处理效果稳定可靠.
④、外表美观、结构紧凑.
⑤、二氧化氯发生器消毒,灭菌率达99%
⑦、具有技术性能稳定可靠、处理效果好、投资少。


四、牙科诊所污水处理设备运行注意:
(1)泵站与污水处理站采用双路供电,水泵设计考虑备用,机械设备采用性能可靠优质产品。
(2)选用优质设备,对污水处理站各种机械电器、仪表等设备,必须选择优良、事故率低、便于的产品。关键设备应一备一用,易损部件要有备用件,在出现事故时能及时更换。
(3)加强事故监控,定期巡检、调节 及时发现有可能引起事故的异常运行,事故隐患。
(4)严格控制处理单元的水量、水质、停留时间、负荷强度等工艺参数,确保处理效果。配备流量、水质自动分析监控仪器,定明取样监测。操作人员及时,使设备处于工况。如发现不正常现象,需立即采取预防措施。



返回首页
电话
产品中心