小型医疗污水处理器服务保障
一、小型医疗污水处理器服务保障:
01、多年行业经验,每台设备质量都经过严格把控采用优质原材料,焊接牢固、工艺精湛。
02、提供全套解决方案,专业团队为您量身定制根据客户实际需求,将处理成本降低。
03、从设计到生产到安装调试全程跟踪,一站式团队服务、快速响应,“质量为本,服务为先”。

二、小型医疗污水处理器介绍:
小型医疗门诊污水处理设备采用物理方法处理污水,不会出现氯排放量超标的现象,也不会出现后续投资费用。工艺中的主体为地埋设备和二氧化氯消毒,二氧化氯其杀菌的原理是破坏和氧化微生物的细胞膜、细胞质、酶系统和核酸等,从而能够有效的去除细菌和病毒。

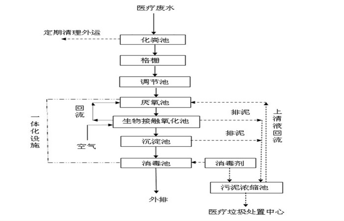
三、小型医疗污水处理器处理工艺:
(1)预处理:废水的预处理是整个系统能否有效运行的关键。废水中含有大量易腐化的有机物,必须在进入处理系统前加以拦截,以防止悬浮固体有机质腐化成为溶解性有机质,导致废水CODCr、BOD5浓度升高。常用的预处理方法很多,主要包括:调节、隔油等。
(2)接触氧化法:它是一种好氧生物膜法工艺,微生物以生物膜形式及悬浮态生长于水中,因此它兼具活性污泥及生物滤池二者的特点。池内设置立体弹性填料和曝气管路系统,并于曝气管路系统上安装微孔曝气器。弹性填料由拉毛的PP材质的丝条和绞绳制成,呈圆形毛刷状,比表面积大,能附着大量的微生物膜。该填料挂膜快,脱膜容易,运行时丝条对空气泡能起到极好的切割作用,使大气泡切割成小气泡,可增加气液接触面积,促进氧的传递,从而提高处理效果。该工艺负荷高、停留时间短、挂膜快、运行稳定。
(3)消毒:医院污水中含有大肠杆菌超标,因此在污水排放前必须加以消毒,有效的杀菌工艺是二氧化氯消毒,二氧化氯发生器以盐酸和氯酸钠为原料,采用负压曝气工艺,生产以二氧化氯为主,氯气为铺的复合消毒液,工业盐酸应符合国家标准《GB320--93工业合成盐酸》的要求。


四、小型医疗污水处理器特点:
1、设备经本厂碳钢防腐处置或不锈钢构件,现场拼接组合而成。重量轻巧,易于运输,便当装置,耐腐蚀,运用寿命长;
2、构造合理紧凑,埋于公开有利保温,在冰冷的冬季仍可正常运转,顺应南北宽广的气候;亦可安顿在水塘中,借用地形触入四周,占空中积。
3、无污染,无噪声,无异味,二次污染;
4、不受污水量的,机动灵敏,可单个运用,也可多个结用。
5、自动化水平高,能耗低,费用小。

五、小型医疗污水处理器价格行情:
小型医疗污水处理器根据原水水质、处理量、排放标准选择合适的污水处理工艺,不同的处理量对应定制不同尺寸型号的污水处理设备,不同的排放标准配置不同的污水处理工艺,价格根据以上选择大体核算价格,价格从几万到几十万不定。但是价格并不是主要的,购买设备时需要了解生产厂家,是否是源头生产厂家、设备价格是否包含安装、调试、操作技术培训费用等,花合适的钱买合适的设备,享受一切IOS/安卓通用版/手机APP入口。


返回首页
电话
产品中心