小型医用废水处理设备IOS/安卓通用版/手机APP入口
一、小型医用废水处理设备IOS/安卓通用版/手机APP入口:
1、严格按业主的要求,保证进度,保证质量完成项目。
2、凡是我方提供的所有材料以及整体工程,均实行12个月免费保修,该保修期自整体项目竣工验收合格之日起计算。
3、凡属我方承包范围和内容的项目,我方在接到修理通知的4小时内给予答复,48小时内必须派人修理。
4、在保修期内向业主提供的所有IOS/安卓通用版/手机APP入口属无偿服务。
5、我方承诺,对设备质量终身维护。
6、我方承诺将终身维护,并以优惠的价格(成本价)对设备提供修理服务。

二、小型医用废水处理设备工艺流程:
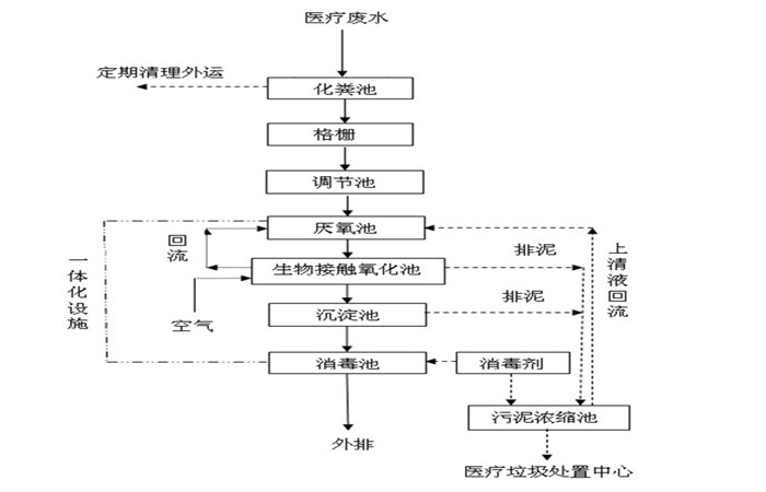
1、医用污水首先进入格栅井,格栅的作用主要是拦截污水中的漂浮物及颗粒物,减轻后续设备的处理负荷和保护水泵正常工作。
2、从格栅出来的水有提升泵提升到调节池,调节池的作用是调节水质和水量,使不同时间、不同水质的水充分混合,保证进入到后续设备的水质与水量均匀一致,还可以降低一定的负荷,使整套处理设备耐受短时间较高的负荷冲击。为防止SS在调节池沉淀,在调节池中安装几根曝气软管,起搅拌作用,同时调节池具有水解、酸化池的功能,可将部分大分子有机污染物降解为小分子污染物,去除部分有机污染物。
3、调节池出来的水自流至一体化医院污水处理设备的水解酸化池,将不易分解的大分子有机物厌氧消化为易分解的小分子有机物,后废水进入接触氧化池,在曝气池中设置填料,将其作为生物膜的载体。待处理的废水经充氧后以一定流速流经填料,与生物膜接触,生物膜与悬浮的活性污泥共同作用,达到净化废水的作用。生物处理后的废水自流入沉淀池,沉淀后上清液自流入消毒池,经过二氧化氯消毒后达标排放。


三、小型医用废水处理设备优点:
1、抗冲击负荷的能力强。接触氧化法的平均停留时间在6小时以上;
2、具有脱氮除磷能力,并可以通过调节设备的构造,达到处理工业废水,生活污水,城市污水的能力;
3、接触氧化池内的填料多为组合软填料,质轻、高强、物理化学性质稳定,比表面积大,生物膜附着能力强,污水与生物膜的接触效率高;
4、接触氧化池内采用曝气器进行鼓风曝气,使纤维束不断漂动,曝气均匀,微生物生长成熟,具有活性污泥法的特征;
5、出水水质稳定,污泥产量少并易于处理;
6、潜水泵中可设于设备之中,减少工程投资。


四、小型医用废水处理设备故障检查:
1、不正常出水:检查接触氧化池、沉淀池、消毒池、污泥池联通管道是否堵塞(堵塞物一般为脱落的生物膜和损坏的弹性立体填料)。
2、接触氧化池曝气不均匀:检查曝气风机出口阀门是否在正常位置,曝气头是否损坏。
3、生物挂膜接触效果不明显
A、检查接触氧化池曝气是否均匀,二沉池污泥是否泵提至该池;
B、如果以上情况正常,则向该池投加适量的营养(白糖、尿素等)。
4、出水水质不达标
A、进水过大;
B、接触氧化池曝气不均匀或长时间停运(此时必须重新培养生物膜);
C、沉淀池污泥过多(必须彻底清除污泥);
D、消毒装置停运和长期对出水不进行消毒。
5、自动控制出现故障
A、检查自动控制柜电源是否正常;
B、检查配套提升泵和曝气风机是否损坏(此时可形成电流过大,短路开关自动断开)。



返回首页
电话
产品中心