湖北医疗污水处理设计要求
一、湖北医疗污水处理设计要求:
(1) 工艺流程配置合理,运行安全、可靠、简单易行。
(2) 设备内部布置考虑运行、维修人员的操作条件。
(3) 各单元设备的计算合理、准确、可靠。
(4) 就地控制柜考虑自动及手动两种方式。
(5) 根据进出水水质、水量要求,以生物处理工艺为基础合理设计整套工艺系统。

二、湖北医疗污水处理设计原则:
1、本设计严格执行国家现行的环保技术标准、规范,遵守国家和地方环保的有关法律、法规,废水经治理后,确保各项水质指标均达到《医疗机构水污染物排放标准》标准要求;
2、选用先进、合理、可靠的处理工艺,在确保处理排放达标的前提下,做到操作简单、管理方便、占地少、投资省、运行费用低, 有较好的技术经济指标。
3、本工程系环境工程,尤其要注意环境保护,避免和减少二次污染,要求改善劳动卫生条件,贯彻安全生产和清洁文明生产的方针。
4、为了提高污水处理站管理水平,设计采用的自动化程度较高,操作人员的劳动强度低。
5、合理选用优质配件,降低能耗,提高工作效率和试用寿命,降低成本。
6、在工艺设计时,有较大的灵活性,可调性,以试用水量、水质的周期变化,提高系统的灵活性和可变性。
7、采用污泥前置回流消解工艺,以降低污泥产生量。
8、因地制宜,合理布局,有效的利用空间。

三、湖北医疗污水处理设计依据:
1、院方提供的相关数据和资料
2、《中华人民共和国环境保护法》
3、《中华人民共和国水污染防治法》
4、《医疗机构水污染物排放标准》(GB 18466-2005)
5、《医院杂用水水质标准》(CJ25.1-89)
6、《医院污水处理设计规范》(CECS 07–2004)
7、《医院污水处理技术指南》
8、《环境工程手册》水污染防治卷

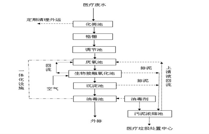
四、湖北医疗污水处理工艺配置:
1、格栅功能:拦截去除进水中大块呈悬浮或漂浮状态的污物,保护水泵,并防止水泵与后续管路系统被阻塞
2、化粪池功能:化粪池是基本的污泥处理设施 ,同时也是生活污水的预处理设施。
3、调节池功能:指的是用以调节进、出水流量的构筑物。 狭义定义:为了使管渠和构筑物正常工作,不受废水高峰流量或浓度变化的影响,需在废水处理设施之前设置调节池
4、水解酸化池功能:将大分子有机物转化为小分子有机物,将难溶性有机物转化为可溶性有机物,提高废水的可生化性,降低后续处理设施的运行负荷,提高污染物去除效率
5、接触氧化池
生物接触氧化法是一种好氧生物膜法工艺,微生物以生物膜形式及悬浮态生长于水中,因此它兼具活性污泥及生物滤池二者的特点。池内设置立体弹性填料和曝气管路系统,并于曝气管路系统上安装微孔曝气器。弹性填料由拉毛的PP材质的丝条和绞绳制成,呈圆形毛刷状,比表面积大,能附着大量的微生物膜。该填料挂膜快,脱膜容易,运行时丝条对空气泡能起到极好的切割作用,使大气泡切割成小气泡,可增加气液接触面积,促进氧的传递,从而提高处理效果。
6、沉淀池功能:沉淀分离活性污泥,部分回流至厌氧池,剩余污泥排放至污泥浓缩池
7、消毒池主要设备:二氧化氯消毒设备
8、设备间:主要放置风机、消毒装置及电控装置。
9、电控系统:电控箱,正泰电器元件。


五、湖北医疗污水处理IOS/安卓通用版/手机APP入口:
①、所供设备保修一年,并对其进行终身维修。
②、提供24小时保障服务,公司设有维修服务部,接到用户通知,将于24小时内予以响应并立即派员赶到现场处理,免费维修直至故障完全排除。
③、提供保证货物在质保期内正常运行所需的随机备品备件、易损件。
④、定期回访用户了解设备运行情况,确保设备正常运转。
⑤、有专业的经验丰富的IOS/安卓通用版/手机APP入口队伍,为用户提供安装和设备调试,以保证设备的正常工作。



返回首页
电话
产品中心