处理医疗废水工艺使用
一、处理医疗废水工艺使用:
处理医疗废水工艺使用一种以生物膜为净化主体的污水生物处理系统,充分发挥了厌氧生物滤池、接触氧化床等优势,是一种利用污水生物菌来处理污水的设备,后续链接二氧化氯发生器,可以将医院污水中的有毒物质消除。两段式生物触摸氧化工艺中,二沉池出水CODcr大去除率可达85%,BOD5大去除率可达92.5%:SS去除率大可达90.9%,保证达排放规范。

二、处理医疗废水规划:
1. 在污水处理站的设计中,应根据总体规划适当预留余地。
2. 根据医院的规模和具体条件,处理站应设值班、化验用房、控制室及联络电话等设施。
3. 污水处理站内可根据需要,在适当地点设置污泥、废渣及医疗废弃物的堆放场地,但以上垃圾必须采取严格封闭措施。
4. 处理站内应有必要的计量、安全及报警等装置。

三、处理医疗废水工艺原理:
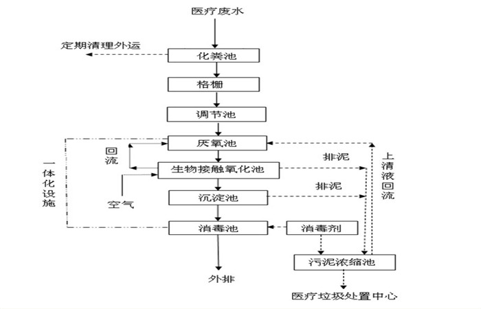
医院污水进入格栅井,格栅的作用主要是拦截污水中的漂浮物及颗粒物,减轻后续设备的处理负荷和保护水泵正常工作。从格栅出来的水有提升泵提升到调节池,调节池的作用是调节水质和水量,使不同时间、不同水质的水充分混合,保证进入到后续设备的水质与水量均匀一致,还可以降低一定的负荷,使整套处理设备耐受短时间较高的负荷冲击。
为防止SS在调节池沉淀,在调节池中安装几根曝气软管,起搅拌作用,同时调节池具有水解、酸化池的功能,可将部分大分子有机污染物降解为小分子污染物,去除部分有机污染物。调节池出来的水自流至一体化医院污水处理设备的水解酸化池,将不易分解的大分子有机物厌氧消化为易分解的小分子有机物,后废水进入接触氧化池,在曝气池中设置填料,将其作为生物膜的载体。待处理的废水经充氧后以一定流速流经填料,与生物膜接触,生物膜与悬浮的活性污泥共同作用,达到净化废水的作用。生物处理后的废水自流入沉淀池,沉淀后上清液自流入消毒池,经过二氧化氯消毒后达标排放。


四、处理医疗废水消毒装置:
二氧化氯发生器是一种操作简单、高转化率、高纯度、多用途、环保型化学法中、小型二氧化氯多级发生器。这种二氧化氯发生器,是由釜式反应器通过耐酸导管和水 射式真空机组组成。釜式反应器采用的是两级或多级反应器,主反应釜内设有空气分布器,副反应釜设置了平衡管,使反应更彻底,反应后的残液可达标排放。生成的二氧化氯制得水溶液,也可以制得稳定二氧化氯溶液。

五、处理医疗废水服务项目:
1)服务宗旨:快速、果断、准确、周到、彻底
2)服务目标:服务质量赢得用户满意
3)服务效率:保修期内或保修期外如设备出现故障,供方在接到通知后,维修人员在24小时内可达到现场并开始维修。
4)服务原则:产品保修期为两年,在保修期内供方将免费维修和更换属质量原因造成的零部件损坏,保修期外零部件的损坏,提供的配件只收成本费,由需方人为因素造成的设备损坏,供方维修或提供的配件均按成本价计。


返回首页
电话
产品中心