大型实验室污水处理设备分析确定
一、大型实验室污水处理设备分析确定:
1、进水水质
由于需方没有提供污水水质指标,参照其他医院的实际污水水质指标;
2、设计污水水量
按《医院污水处理技术指南》(环发【2003】197号)的规定,平均日污水量取0.4立方/床,理论设计水量按实际床位数计算。
3、出水水质要求
根据《医疗机构水污染物排放标准》GB18466-2005中所规定的排放标准执行。

二、大型实验室污水处理设备消毒装置:
二氧化氯发生器是一种操作简单、高转化率、高纯度、多用途、环保型化学法中、小型二氧化氯多级发生器。这种二氧化氯发生器,是由釜式反应器通过耐酸导管和水射式真空机组组成。釜式反应器采用的是两级或多级反应器,主反应釜内设有空气分布器,副反应釜设置了平衡管,使反应更彻底,反应后的残液可达标排放。

三、大型实验室污水处理设备产品特点:
★实用性广,可适应各类实验室的废水处理;
★采用多项先进的技术对废水进行多元化处理净化,达到排放标准;
★通过集中控制,自动化程度高,操作简单,全自动运行,无须专人职守;
★可实现定时开关机、无废水保护功能、储液罐液位保护功能;
★模块型集成技术,处理效果好,不会产生废渣、废水等二次污染,运行成本低;
★耐酸碱腐蚀,噪音小,功率小、多重安全保护等特点;
★通过“一站式”一体化设计,外形美观、占地面积小,便于集中管理。

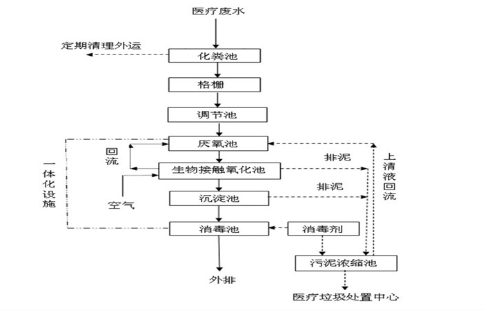
四、大型实验室污水处理设备处理工艺:
大型实验室污水首先进入格栅井,格栅的作用主要是拦截污水中的漂浮物及颗粒物,减轻后续设备的处理负荷和保护水泵正常工作。从格栅出来的水有提升泵提升到调节池,调节池的作用是调节水质和水量,使不同时间、不同水质的水充分混合,保证进入到后续设备的水质与水量均匀一致,还可以降低一定的负荷,使整套处理设备耐受短时间较高的负荷冲击。为防止SS在调节池沉淀,在调节池中安装几根曝气软管,起搅拌作用,同时调节池具有水解、酸化池的功能,可将部分大分子有机污染物降解为小分子污染物,去除部分有机污染物。
调节池出来的水自流至大型实验室污水处理设备的水解酸化池,将不易分解的大分子有机物厌氧消化为易分解的小分子有机物,后废水进入接触氧化池,在曝气池中设置填料,将其作为生物膜的载体。待处理的废水经充氧后以一定流速流经填料,与生物膜接触,生物膜与悬浮的活性污泥共同作用,达到净化废水的作用。生物处理后的废水自流入沉淀池,沉淀后上清液自流入消毒池,经过二氧化氯消毒后达标排放。


五、大型实验室污水处理设备服务承诺:
1、严格按业主的要求,保证进度,保证质量完成项目。
2、凡是我方提供的所有材料以及整体工程,均实行12个月免费保修,该保修期自整体项目竣工验收合格之日起计算。
3、凡属我方承包范围和内容的项目,我方在接到修理通知的2小时内给予答复, 48小时内派人修理。
4、在保修期内向业主提供的所有IOS/安卓通用版/手机APP入口属无偿服务。
5、我方承诺,对设备质量终身维护。
6、我方承诺将终身维护,并以优惠的价格(成本价)对设备提供修理服务。


返回首页
电话
产品中心